RXG20变频器制动电阻器、箱、柜
RXLG铝合金电阻
负载箱、测试台、控制台
ZX18不锈钢电阻
电抗器、变压器、频敏电阻
ZX系列电阻、起动调整电阻
产品导航
BX7、BX8滑线变阻器 您的位置:首页 >> 产品中心 >> BX7、BX8、BC1变阻器 >> BX7、BX8滑线变阻器 >> BX7、BX8滑线变阻器  

BX7、BX8滑线变阻器

发布人:晶犀电阻 所属分类:BX7、BX8滑线变阻器 来源:www.jingxichina.com 点击率:18690
BX7、BX8滑线变阻器

一、产品介绍

   BX7、BX8系列滑线式电阻器适用于交流50赫兹电压至380伏及直流电压至400伏以下的电路中,主要作为校正电器仪表及作变更电压、电流和代替未定阻值的可变电阻器应用,在实验室中作实验或教学演示用的电压,电流调节器,以及作为发电设备和直流电动机的励磁调速电阻等之用。
   本产品在多管并联后最大电流可达200A。功率最大能达到50KW。产品分为可推单管、手摇螺杆单管、手推双管、电动/手摇螺杆双管、电动/手摇螺杆三管、四管、六管、八管等近千种规格

二、型号定义

型号定义

三、电阻器技术参数:

   BX7系列(单管):电流0.1A—50A、阻值0.5Ω—24.5KΩ;

   BX8系列(单管):电流0.1A—50A、阻值0.13Ω—14.5KΩ;

   1、变阻器的阻值误差不超过标准阻值之±10%;

   2、变阻器的绝缘应能承受交流50赫兹2500伏的试验电压、历时1分钟,而无击穿或闪络现象;

   3、变阻器的绝缘电阻在温度+20℃±5℃及相对温度为60-70%,不低于10兆欧。

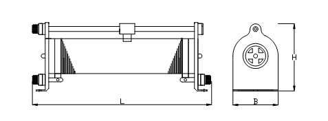
四、外型结构

外型结构

五、主要尺寸

型号

L

B

H

电流

阻值

BX7

265

90

135

0.1A-50A

0.13Ω-5KΩ

BX7

325

90

135

0.1A-50A

0.19Ω-7KΩ

BX7

370

90

135

0.1A-50A

0.24Ω-8.7KΩ

BX7

420

90

135

0.1A-50A

0.28Ω-10.5KΩ

BX7

470

90

135

0.1A-50A

0.32Ω-12.5KΩ

BX7

520

90

135

0.1A-50A

0.36Ω-14.5KΩ

BX8

465

120

185

0.1A-50A

0.5Ω-18.5KΩ

BX8

515

120

185

0.1A-50A

0.6Ω-21.5KΩ

BX8

565

120

185

0.1A-50A

0.7Ω-24.5KΩ

BX8

615

120

185

0.2A-50A

0.75Ω-10.5KΩ

BX8

665

120

185

0.2A-50A

0.8Ω-11.5.5KΩ

BX8

715

120

185

0.2A-50A

0.9Ω-12.5KΩ

BX8

765

120

185

0.2A-50A

1Ω-13KΩ


点击进入晶犀首页返回晶犀网首页>>
上一个产品: 移动型负载箱-上海晶犀电器
下一个产品: 电源滤波器1

电话:021-58235892  传真:021-58236511  手机:13611744558  公司地址:上海市浦东新区大团镇三墩社区扶栏村19组382号.12组路和老村委路交叉口。  邮箱:jxdq@jingxichina.com
版权所有:上海晶犀电器有限公司|负载箱,制动电阻,不锈钢电阻,铝壳电阻,铝合金电阻,线绕电阻 沪ICP备14013411号-1互联网站备案信息沪公网安备 31011502005724号 | Sitemap